Service Bulletin: SB 102

DATE: December 9, 1997

GAME: Cirqus Voltaire

SUBJECT: Upgrade Kit (Part #A-22270).

Now available is an upgrade kit for "Cirqus Voltaire".  This kit corrects ball traps or hang-ups, reduces balls from hanging up or sticking on the ramp switches, and keeps the display plastic from pinching on the mini wood platform. 

This kit is available through WMS Parts Service, or your local distributor.

This document is a copy of the installation instructions for the kit.


Please perform upgrades A to D on games manufactured before 11/15/97 to improve the game's playability.

ALWAYS TURN OFF AND UNPLUG THE GAME BEFORE SERVICING

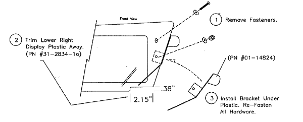
Upgrade A - Display Panel

With the playfield in the service position, remove the #8 machine screw and #8 washers that hold the display plastic down on the right side.  Then slip the new bracket (p/n 01-14824) under the plastic, which is trimmed, but in front of the wood panel.  Then, fasten the display plastic back on with the #8 machines screws and the #8 washers.

sb102-1.gif (12374 bytes)

Upgrade B - Lubriate Ringmaster Cam

Be sure the Ringmaster is in the DOWN position, shut the game off and then raise the playfield to the service position.  Locate the Ringmaster Cam & Switch Assembly on the back of the Ringmaster bracket.  Brush the small cam PIN completely with Magna/Lube-G (p/n EI-204) or Teflon grease.  Push down on the safety latch on the left side of the cabinet and lower the playfield.

Plug in and turn on the game.  Check for proper Ringmaster operation.

sb102-2.gif (16784 bytes)

Upgrade C - Plastic Post and Spacer

With the playfield in the service position,

1: Locate the left Ringmaster target.  Punch a small hole in the playfield above the target in the position of the new target.  Assemble wood screw, washer, post, and rubber ring.  Fasten the post assembly to the playfield at the punch mark.

2: Remove the #8 machine screw from the Center Wire middle mounting foot.   Assemble the spacers and the washers as illustrated below.  Remember to place a washer under the playfield plastic before placing a spacer under the Center Wire.   Then assemble as shown.

sb102-3.gif (42504 bytes)

The following is a reduced copy of the template used to punch the hole for the post.   A full-sized version is available with the kit or from WMS Parts Service.  Use this diagram only as a reference in determining the location of the punch for the post.

sb102-4.gif (20038 bytes)

Upgrade D - Neon Ramp Bracket

With the playfield in the service position,

1: Remove the three fasteners that hold the neon ramp on the playfield.  Then left the ramp and remove the two #2/56 machine screws that hold the switch on the neon ramp bracket.

2: Add the metal bracket (p/n 01-14825) onto the switch assemble (as shown) and use two NEW #2/56 machine screws (p/n 4002-01105-07) to tighten it securely back onto the neon ramp assembly.

sb102-5.gif (36594 bytes)